1
/
of
2
GENERAL ELECTRIC
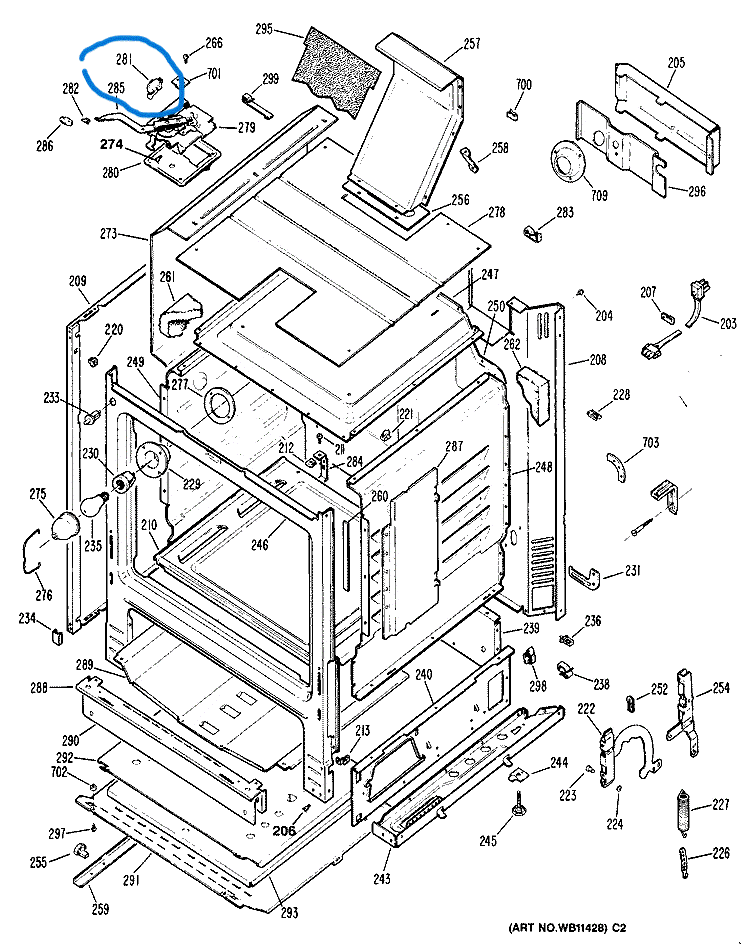
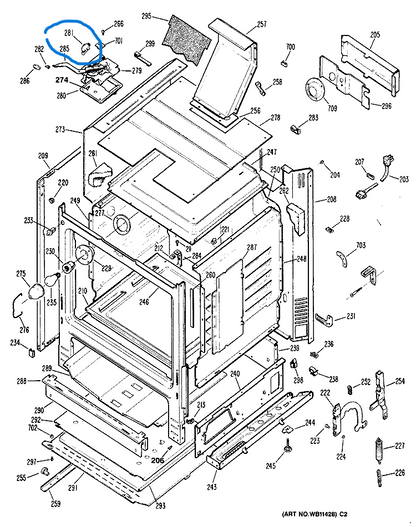
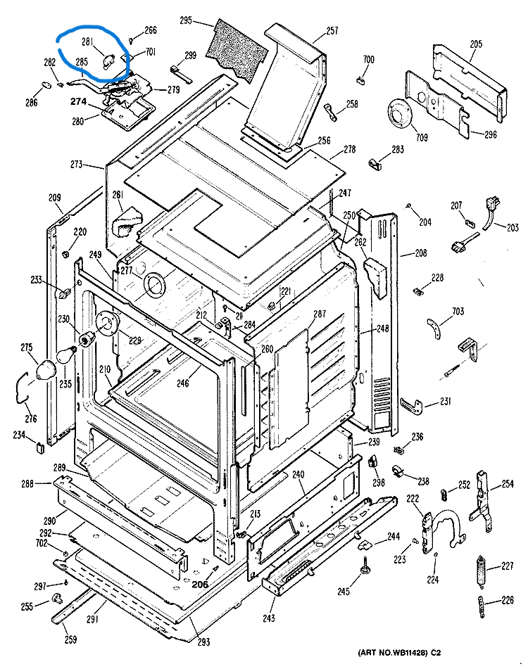
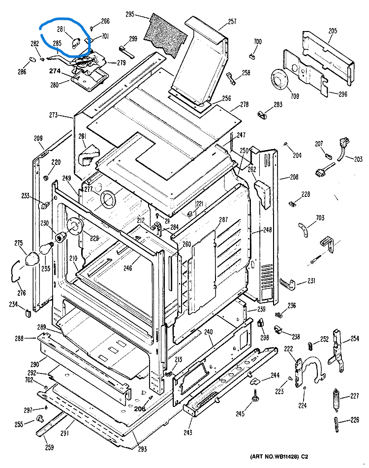
General Electric Oven Switch, Latch WB24K15 >> NLA <<
General Electric Oven Switch, Latch WB24K15 >> NLA <<
Regular price
$82.50
Regular price
Sale price
$82.50
Unit price
/
per
Shipping calculated at checkout.
Couldn't load pickup availability
>>> DISCONTINUED BY MANUFACTURER <<<
BRAND NEW OEM ORIOG # WB24K15
GE brands include General Electric, Hotpoint, RCA, and others.
GE also makes various appliance models for Sears / Kenmore.
Cross Reference Information
Part Number WB24K15 (AP2023927) replaces WB24K0007, WB24K0015, WB24K7.
Share

